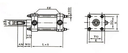
很多客户现在会认准我们胡埭液压的光芒牌气缸进行购买使用,这是我们产品的品牌口碑效应,下面我们给大家讲讲我们光芒牌双作用普通气缸安装尺寸规格,同时一并给出我们的安装尺寸图,以供大家在安装气缸的时候有的参考。更多有关气缸的订购以及选型问题,请交给我们胡埭液压的专业技术人员,因为我么专业,所以我们会做的更好。

| 缸径 | d | KK | AM | EE | Φ B | WH | VD | L | ΦDD | TG | E |
| 32 | 12 | M10×1.25 | 22 | M10×1 | 30 | 24 | 15 | 98 | M6 | 35 | 50 |
| 40 | 16 | M12×1.25 | 24 | M14×1.5 | 30 | 30 | 23 | 105 | M6 | 48 | 55 |
| 50 | 20 | M16×1.5 | 32 | M14×1.5 | 35 | 35 | 25 | 110 | M6 | 48 | 65 |
| 63 | 20 | M16×1.5 | 32 | M18×1.5 | 40 | 35 | 25 | 125 | M8 | 58 | 80 |
| 80 | 25 | M20×1.5 | 40 | M18×1.5 | 50 | 46 | 30 | 128 | M10 | 75 | 100 |
| 100 | 25 | M20×1.5 | 40 | M22×1.5 | 50 | 51 | 35 | 138 | M10 | 90 | 120 |
| 125 | 32 | M27×2 | 54 | M22×1.5 | 60 | 61 | 44 | 168 | M12 | 110 | 140 |
| 160 | 45 | M36×2 | 72 | M27×2 | 80 | 80 | 50 | 180 | M16 | 142 | 180 |
| 200 | 45 | M36×2 | 72 | M27×2 | 80 | 90 | 55 | 190 | M16 | 180 | 220 |
| 250 | 50 | M42×2 | 84 | M33×2 | 90 | 105 | 70 | 200 | M20 | 216 | 280 |
| 320 | 63 | M48×2 | 96 | M33×2 | 105 | 120 | 75 | 225 | M24 | 270 | 350 |